Автомобили семейства Волга ГАЗ 31105 (ЗМЗ 406) оснащены генераторами типа 9422.3701, 3212.3771, 2502.3771. Источники питания переменного тока, трехфазные, с предустановленным выпрямителем и регулятором напряжения, правая сторона вращения.
Источник питания (далее — ИП) приводится в движение клиновидным, поликлиновым ремнем от шкива коленвала.
В случае выхода из строя ИП его можно заменить новым. Процесс самостоятельной профилактики вовсе не сложный, но требует наличия опыта в обслуживании транспортного средства. Проведение диагностики непрофессиональным способом не гарантирует функциональность оборудования.


Какой генератор установлен на ГАЗ 3110
В отличие от других модификаций генераторных установок, в ГАЗ 3110 статор стянут четырьмя винтами по периметру. Вал ротора вращается на подшипниках, в которые заложена смазка.
Передний и задний подшипники запрессованы на вал, при выходе из строя их можно заменить новыми, предварительно демонтировав агрегат со штатного места.
На валу ротора установлена обмотка возбуждения, выпрямительные диоды. Питание подведено посредством двух угольных щеток. С целью предотвращения образования помех между силовыми выходами «+» и «-» установлен конденсатор.
Статор и ротор охлаждаются посредством потока воздуха в ходе движения транспортного средства.
| Технические характеристики | 9422.3701 | 3212.3771 | 2502.3771 |
|---|---|---|---|
| Граничная сила тока при напряжении в 13,5 В и оборотах свыше 5500 об / мин | 57 | 77 | 82 |
| Регулируемый диапазон напряжения | 13,5-14,4 | 13,5-14,4 | 13,3-14,6 |
| Передаточное соотношение | 01.01.1970 | 01.01.1970 | 01.01.1970 |
| Емкость конденсаторов | 2,3±15% | 2,3±15% | 2,1±15% |
Чтобы снизить потребление тока при работающем силовом агрегате необходимо отключить максимальное количество потребителей тока: радио, магнитолу, освещение, кулер, печной отопитель.
Внутри генераторной установки вмонтированы катушки в количестве 6 штук, материал медь, соединение звездообразно. Статор – неподвижная конструкция, а ротор – вращается внутри статора. С тыльной стороны оси ротора впрессованы магнитные щетки, намотана и запаяна обмотка возбуждения.


После того, как провернут ключ в замке зажигания, ток от АКБ создает магнитное поле, проходя сквозь графитовые щетки, медную обмотку. Переменный ток преобразуется в постоянный.
С фронтальной стороны ИП имеются два силовых выхода с полярностью «+» и «-». Клеммы с соответствующей полярностью подключаются к аккумулятору.
Для проворота генераторной установки потребуется АКБ. После того, как батарея накопит в себе потраченное количество энергии, генератор раздает излишки другим источникам питания. Таким образом, величина бортовой сети поддерживается в допустимом диапазоне.


Характерные причины выхода из строя ИП на ГАЗ 3110
- ослабленная фиксация ремня привода;
- загрязнение контактов;
- повреждение выпрямителей;
- износ щеток;
- зависание щеток;
- короткое замыкание;
- обрыв цепи питания;
- не работает регулятор;
- износ подшипника;
- клин шкива;
- поврежден вентилятор.


Признаки неисправности ИП на ГАЗ 3110
- мигает лампа заряда АКБ;
- перезарядка АКБ, ИП не дает зарядку на АКБ;
- недостаточно яркий свет;
- тихий звук клаксона;
- сторонние шумы при работающем ИП.


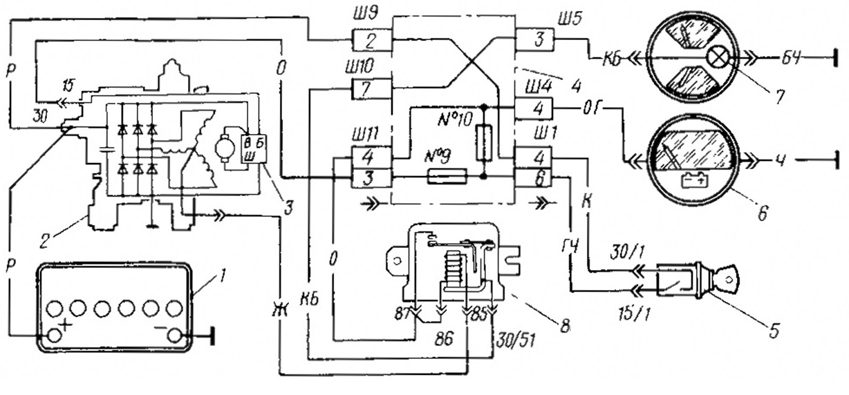
Схема подключения электрической цепи ГАЗ 3110 (402 двигатель)
Схема представлена на таблице ниже:


Аналоги, оригиналы, цена, артикулы
| Каталожный артикул | Серийный номер | Цена | |
|---|---|---|---|
| A2110-80A (оригинальный) | БОШ (9501.3801) (оригинальный) | От 3000 — 3200 | |
| 9501.3801 | FINWHALE 687-04 | 62022 / 180545 | От 3000 — 3200 |
| 9568.3749 | 922.3801 | SKL622RS | От 3000 — 3200 |
| 3701010 (HORT) | 3701024 | Contitech | От 3000 — 3200 |
| 3701971 | 3701953 | Электро 3701747 | От 3000 — 3200 |
| *цены указаны состоянием на август 2019 года |
Замена, ремонт и профилактика генератора на ГАЗ 3110
Расположение источника питания: моторный отсек, справа по направлению движения транспортного средства.
Необходимые материалы, инструменты:
- рожковые, накидные ключи;
- вороток, головки;
- динамометрический ключ для точности силы зажима;
- новый ремень приводных механизмов по мере необходимости;
- пластиковая лопатка для съема ремня;
- отвертки с набором бит, чтобы поменять щетки.
Пошаговая инструкция по замене:
- Глушим двигатель автомобиля.
- Открываем капот.
- Ослабляем крепление клемм, снимаем их с АКБ.
- Отпускаем болт – фиксатор кронштейна.
- Выводим генераторную установку вниз.
- Снять ремень приводных механизмов.
- Извлекаем ИП из моторного отсека для дальнейшего проведения профилактики.
- По завершении диагностических работ устанавливаем детали в обратной очередности.
После демонтажа ИП мастер проводит его очистку, первичный осмотр, определяет вероятные поломки. Комплектующие заменяют новыми, зачищают клеммы на роторе.
Деталь не подлежит установке, если в корпусе обнаружены трещины. Последующая эксплуатация технического средства небезопасна.


Целостность обмотки ротора проверяем мультиметром. Профилактике также подлежит диодный мост. Не забывайте проверить целостность предохранителя, замените новым по мере необходимости, соблюдайте ампераж.
При условии соблюдения рекомендаций специалистов последующая профилактика источника питания через 30 – 40 тыс. км.
Чтобы продлить срок эксплуатации электрического оборудования соблюдайте график проведения технических осмотров. Приобретайте детали с оригинальными каталожными артикулами, полный перечень серийных номеров указан в табличных данных.